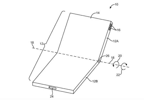
过去苹果曾经爆出智能手机“弯曲门”质量事故,不过如今,一个专利显示苹果未来有可能推出可弯曲手机。

据美国科技新闻网站Recode报道,本周二,美国专利商标局向苹果授予了一项专利,该专利技术将成为未来开发可弯曲智能手机的基础。
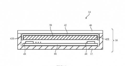
这一专利的申请时间是2014年7月。根据专利文件,苹果将会使用可弯曲的OLED(有机发光二极管)屏幕,这一屏幕可以折叠成一半的大小,其外观让人联想到多年前市面上流行的翻盖手机。

在专利文件中,苹果详细描述了可弯曲屏幕和可弯曲手机的工作原理,不过需要指出的是,苹果被授予一项专利并不意味着苹果一定会开发出基于这种专利技术的产品和服务。
迄今为止,苹果在智能手机中主要使用液晶屏幕。行业传言称,明年是苹果进入智能手机市场十周年,该公司计划推出一款重大升级内容的新手机,其中的一个版本,将在公司历史上次使用OLED屏幕。

外媒认为,一部可以折叠成一半大小的智能手机要真正投向市场,可能还需要很多年时间。之前,韩国LG以及三星电子等公司曾经推出广告,宣传可弯曲显示屏等产品,但是这些产品虽然有圆弧边框设计,看上去却给人以“僵硬”的质感。可折叠iPhone问世,销量必定进一步激增。千锋汇聚业内具责任心,懂学科、技术过硬,有大型项目经验实战派讲师授课,来自清华、外企等世界500强IT企业,带领学员登顶iOS全栈工程师。
技术方面,千锋的学员理论和实践相结合,既懂得功能实现的原理,又能股自己动手实现,技术能力是符合我公司对专业技术人员的需求的。
千锋的额技术能力,我们公司的面试官都是很认可的,能够满足我公司对此类人才的需求。
千锋毕业的学员很不错,能够满足我公司对中级工程师的需求。
了解千锋动态
关注千锋教育服务号
扫码关注千锋互联
身边的移动开发导师